空氣換熱器
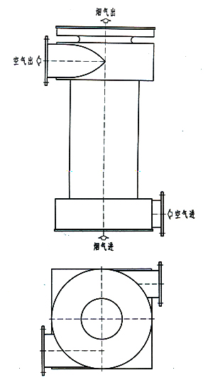
| 1、概述 加熱爐窯為了降低能耗,在煙道中設置空氣換熱器,以回收煙氣中的大量余熱,達到節約燃料、降低生產成本,提高燃燒溫度、增加爐子的產量。空氣換熱器是余熱利用的理想設備,在軋鋼加熱爐、熱處理爐、煅造加熱爐等各種工業爐窯上得到廣泛應用。爐用空氣換熱器的種類很多,目前國內外絕大多數采用的是金屬換熱器,空氣換熱器是利用爐窯排出的尾氣熱量將空氣預熱至一定的溫度后返回爐內助燃或用于其它設備。金屬換熱器具有體積小、熱交換效率高、嚴密性好、結構簡單等特點。 2、GCJ型列管式空氣換熱器簡介 GCJ型列管式空氣換熱器結構緊湊,水平、垂直煙道均能適用。該換熱器傳熱面由管束組成,煙氣(熱源)在管外流動,助燃空氣在管內流動。在換熱管內加入麻花插件,用來改變空氣傳熱面上流體的附面層,增加流動介質的紊流強度,增強空氣側的對流給熱,從而提高了換熱器的傳熱效率。由于列管式空氣換熱器所需的制作材料鋼管和鋼板市場供應充足,制作、安裝工藝簡單,不易漏氣,不積灰等優點,因此在國內外得到普遍推廣使用。 3、TPF型圓筒式空氣換熱器簡介 TPF型圓筒式空氣換熱器結構緊湊,適用于垂直煙道。該換熱器為圓筒式結構,由內筒、中筒、外筒巧妙地組合而成,內筒為換熱筒,中筒為噴流筒。煙氣在內筒通過,預熱空氣在外筒內以一定的速度通過中筒噴射到內筒上,從而獲得熱量。此換熱器可適用高溫煙氣及含塵多的煙氣,安裝簡便,可以作為煙囪的一部份。 4、制造檢驗 對于列管式換熱器鋼管與管板焊好后去除焊渣,用煤油作滲漏試驗。出廠前換熱器進行單體或整體試壓,試驗介質為空氣,壓力2000毫米水柱,1小時內不泄漏為合格。對于大型換熱器,由于運輸原因不能整體組裝后出廠時,出廠前只進行單體試壓。設備到達工地后組裝焊接,然后進行整體試壓。 5、安裝 5.1按加熱爐設計平面布置圖或換熱器安裝示意圖要求安裝。 5.2 對換熱器吊裝入砌筑好的煙道或就位后砌筑煙道。 5.3對于帶外殼的換熱器就位直接與煙道連接。 5.4連接好進、出口風管道并進行保溫包扎。 6、使用 6.1煙氣溫度達到400℃時換熱器必需處于供風狀態,預熱溫度超過設計值時,應增加風量,放散多余部份的熱風。當進入換熱器的煙氣溫度過高的可采取摻冷風措施。 6.2停爐時換熱器應繼續供風,不能立即停止風機,熱風作放散處理,當進入換熱器的煙氣溫度低于400℃時,方可關閉風機。 6.3突然停電容易造成換熱器燒壞,應該盡量防止。如果出現這種情況,應立即關閉煙道閘門或采取措施降低煙氣溫度,使換熱器不致于過熱而損壞。 6.4如發現換熱器有異常情況應及時查明原因并及時處理。 6.5換熱器在正常情況下使用質保期限為一年。 7、洽談訂貨 為了使換熱器發揮的效益,請客戶在選用本廠產品時提供以下技術參數: 7.1進入換熱器的煙氣流量 7.2進入換熱器的空氣流量 7.3進入換熱器的煙氣溫度 7.4需要的空氣預熱溫度 7.5國熱爐型式 7.6加熱爐燃料種類 7.7排煙方式 7.8允許換熱器的煙氣阻力損失 7.9允許換熱器的空氣阻力損失 7.10允許換熱器的外形尺寸及接口尺 |
![]() |
![]() |
![]() |


















